祝賀您購買中緯ZAL632自動安平水準儀,本手冊包括了重要的安全指南,可指導您安全地安置并使用儀器。使用前請您仔細閱讀本手冊,從而使得您的儀器發揮最大的效用。
本手冊采用的符號
本手冊使用下列符號的含義:
-
危險 - 它表示非常嚴重的危險情況。如不避免,將可能造成人身傷害甚至死亡。 -
警告 - 它表示潛在的或操作不當所導致的危險情況,如不避免,將可能造成人身傷害甚至死亡。 -
小心 - 它表示潛在的或操作不當所導致的危險情況,如不避免,將可能造成輕微的人身傷害或明顯的設備、經濟損失和環境損害。 -
表示使用中須要注意的段落,以便您正確有效的使用儀器。
歡迎使用中緯產品。Z AL632為中緯新一代光學水準儀,將堅實的結構與先進的功能融為一體,使用戶能更高效準確地使用儀器。
簡單的操作程序,使無經驗的測量員也能很快地學會。
請出現在手冊末安全說明的。雖然中緯產品在設計上最大限度的考慮了安全問題,但如果使用不當或忽略規程,仍可能會引起人員傷害或財產損失。
請把本手冊放在儀器附近,以便需要時翻閱。
特殊性能
- 易操作,很快便可學會
- 設計新穎,外形美觀。
- 環形傳動。
- 堅固,可靠。
- 使用水平圓盤可進行角度測量。
- 防水防塵。
- 使用5/8" 中心固定螺栓,可適用于各種類型的三腳架。

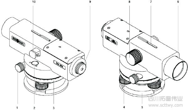
1、環形傳動(適用于兩個方向)
2、圓形水準器
3、調整水平圓盤的角度盤
4、腳螺旋
5、底座
6、物鏡
7、粗瞄裝置
8、調焦旋鈕
9、目鏡
10、圓水泡的反射鏡
提示:在詳細閱讀中緯ZAL632光學水準儀說明書之前,你可以先了解中緯ZAL632光學水準儀詳細技術參數。
中緯ZAL632光學水準儀說明書目錄
1、簡介
- 歡迎
- 檢查和調整
- 特殊性能
- 重要部件
- 技術用語及簡要說明
2、測量準備
- 開箱
- 調整三腳架
- 整平
- 望遠鏡調焦
- 對中
3、測量
- 標尺讀數
- 距離測量
- 角度測量
- 線水準測量
4、檢查和調整
- 三腳架
- 圓形水準器
- 視線的檢查和調整
5、維護和存儲
- 運輸
- 在現場
- 在車內
- 航運
- 儲存
- 清理
6、安全說明
- 儀器的預定用途
- 許可的用途
- 有害的使用
- 使用限度
- 責任范圍
- 使用中的危險
7、技術數據
說明:在拓圖偉業購買中緯ZAL632光學水準儀均配有產品使用說明書,如果你不慎丟失,可以點擊下載官方版本。